Summary: Learn how to operate your Sonnette® shades with the SoftTouch® system, including tips for opening and closing the shade, installing the wand, and adjusting the upper and lower limits.
Applies To: Sonnette®, SoftTouch®
Operation
Setup
Customization
3. Adjust the Upper Limit
4. Adjust the Lower Limit
Use SoftTouch
To open the shade, briefly push the wand up to move the shade in the up/open direction.
To close the shade, briefly pull the wand down to move the shade in the down/closed direction.
To stop the shade while it’s moving:
Push the wand up again to stop upward movement
Pull the wand down again to stop downward movement
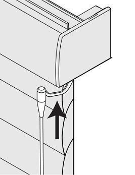
Install Battery Wand
Locate the two battery clips on the motor side of the shade inside the Sonnette headrail.
Apply power and use the programming button to lower the shade a few inches. (This step is optional but gives more room to work.)
Insert the SoftTouch wand into the clips and push it up until it clicks into place.
Tip: You should hear an audible click when the wand is correctly seated.
Important: It is possible to install the wand partially, which may cause damage to the fabric or result in the wand falling out.
To check proper installation:
Gently reach into the headrail on both sides of the wand
Confirm the wand is touching the “ceiling” of the headrail, as shown on the battery instruction sticker
Adjust the Upper Limit
Follow these steps to set the shade’s fully open position:
Open the shade by briefly pushing the wand upward.
When the shade stops, push the wand up, release, then push and hold up again within ½ second.
After ~6 seconds, the shade will beep and a red LED will blink, indicating it is ready for upper limit adjustment.
Move the shade to the desired open position.
Push and hold the wand up for ~6 seconds until the shade beeps and moves slightly.
Release the wand. The shade will beep and move again to confirm the new upper limit is saved.
This video applies to Sonnette® shades as well.
Adjust the Lower Limit
Follow these steps to set the shade’s fully closed position:
Close the shade by briefly pulling the wand downward.
When the shade stops, pull the wand down, release, then pull and hold down again within ½ second.
After ~6 seconds, the shade will beep and a red LED will blink, indicating it is ready for lower limit adjustment.
Move the shade to the desired closed position.
Pull and hold the wand down for ~6 seconds until the shade beeps and moves slightly.
Release the wand. The shade will beep and move again to confirm the new lower limit is saved.