Summary: Learn how to operate Silhouette® and Nantucket™ shades using the SoftTouch® wand, including basic operation, setting favorite positions, adjusting limits, and troubleshooting.
Applies To: Silhouette, Nantucket, SoftTouch
Operation Basics
Express Mode and Favorite Position
2. Activate Express Mode
3. Set a Favorite Position
Limit Adjustments
4. Adjust Upper Limit
5. Adjust Lower Limit (Vanes Open/Closed)
Troubleshooting
Support
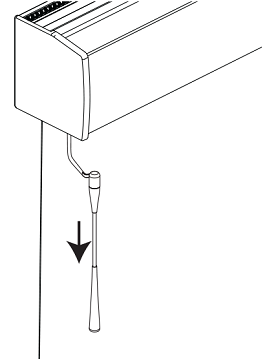
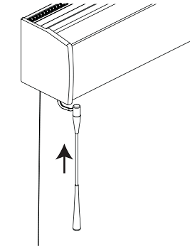
Operation Basics
- To lower the shading: Briefly pull the wand down.
-
To open the vanes: With the shading fully lowered, briefly pull the wand down.
- To close the vanes: Briefly push the wand up.
-
To raise the shading: Briefly push the wand up.
-
To stop the shading while in motion: Pull or push the wand briefly and release.
Activate Express Mode and Set a Favorite Position
Tip: Express Mode bypasses the transition point, moving the shade directly to the fully open or closed position.
To activate Express Mode: Hold the wand up or down for 2 seconds
To Set a Favorite Position:
- Start by putting the shade in motion.
- When it reaches the desired position, quickly move the wand up until the shade jogs and beeps.
- The favorite position is now saved.
Adjust Upper Limit
- Move the shading to the fully open position (shading inside the headrail).
- Push the wand up and release, then quickly push up and hold for 6 seconds.
- The shade will beep and a red LED will blink.
- Release the wand. Complete the next step within 20 seconds.
- Pull the wand down and release to move the shading down.
- When the desired upper limit is reached, push and hold the wand up for 6 seconds until the shade moves slightly twice. The LED will turn off.
- Release the wand. The upper limit is now set.
Adjust Lower Limit (Vanes Open and Closed)
- Move the shade to the fully lowered position with vanes open.
- Pull the wand down and release, then quickly pull down and hold for 6 seconds.
- The shade will beep and the red LED will blink.
- Release the wand. Complete the next steps within 20 seconds.
- Push the wand up and release to adjust vane open position. Stop when desired.
- Pull the wand down and hold for 6 seconds until vanes move twice. This sets the vane open limit.
- The shade will move to vane closed position automatically.
- Push up or pull down to adjust closed vane position.
- Pull and hold wand down for 6 seconds until movement confirms new vane closed limit.
Reset Limit Settings
Use this process only if limits are lost or the LED blinks red during install. Follow steps in order:
- Place the shade in programming mode.
- Disconnect power, push and hold the wand up, then release.
- Push up again and hold while reconnecting power. Hold for 6 seconds until fast red blinking starts.
- Release wand. LED will continue fast blinking.
-
Set upper limit:
- Move shade to desired upper position.
- Push and hold wand up for 6 seconds until beep, LED flashes green, and shade jogs.
- Release wand. LED continues fast red blink.
-
Set lower limit:
- Move to desired lower position.
- Pull and hold wand down for 6 seconds until beep, LED flashes green, and movement occurs.
- Release wand. LED turns off.
- Confirm shade operates correctly.
Need More Help?
If you have additional questions, we recommend reaching out to your original dealer or installer for support.
If you’re not sure who installed your window treatments, you can use our Dealer Locator to find a local expert or chat with an agent at help.hunterdouglas.com for further assistance.